網站首頁收(shōu)藏夾設為首頁
泵的知(zhī)識 PUMP KNOWLEDGE
行(háng)業新(xīn)聞
您當前位置(zhì):網站首頁 >> 泵的知識 >> 詳情內容

智慧型無(wú)負壓穩流設備立(lì)式罐安(ān)裝方法(fǎ)

時間:2013/8/13 來源:浙江揚(yáng)子江泵業有限公司

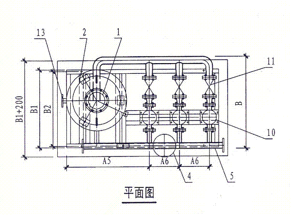
ZWL係列立式罐(guàn)供水設備設計方法可參照下麵的方法:

設備組成名稱表

序號

1

2

3

4

5

名稱(chēng)

防負(降)壓裝置

穩流罐(guàn)

壓力傳感(gǎn)裝置

氣壓水罐

出水管

 

序號

6

7

8

9

10

11

12

13

名稱

控製(zhì)閥

止回閥

軟接頭

底座

水泵

進水閥

旁通閥(fá)

進水口

感謝您訪問我們香蕉视频网站江泵業的網站www.a-vested-interest.com,如有任何水泵疑問我(wǒ)們一定會盡(jìn)心盡力為您提供優質的(de)服(fú)務。
產品導購
香蕉视频网站_黄色香蕉视频_香蕉污视频_香蕉视频污下载